Larga vida al Ford Mustang V8 gracias al hidrógeno
Mientras que casi todo el mundo se obceca en la electrificación, todavía hay quien tiene la idea de poder seguir usando motores de combustión, pero que en vez de quemar productos contaminantes, empleen combustibles limpios, como el hidrógeno. Este es el caso de Ford, que acaba de registrar la patente de una nueva generación de motores de combustión que puede usar el hidrógeno como combustible.
La idea de Ford es relativamente simple en cuanto a concepto, pero exige de mucha precisión para funcionar correctamente.
En teoría, un motor de combustión funciona con cualquier cosa que pueda quemarse, sólo hay que diseñar el motor de forma que en él se den las condiciones necesarias para que lo que queramos quemar arda correctamente.
Bien, pues el hidrógeno es un combustible muy bueno: le gustar arder, tiene mucha energía y, además, su combustión sólo genera vapor de agua, absolutamente inocuo para el planeta y los seres vivos.
La patente de Ford del motor de hidrógeno
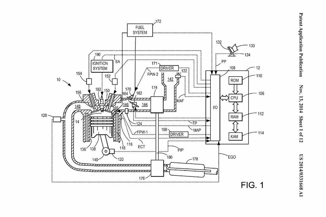
El problema fundamental que ha solucionado Ford, al menos sobre el papel en su patente, es el de la autodetonación, es decir, evitar que el hidrógeno arda espontáneamente y sin control en el motor, de manera que su energía no se pueda aprovechar y pueda provocar averías en el motor.
La solución que propone Ford consiste en un sistema de inyección directa del hidrógeno en el cilindro muy preciso, que inyecte la cantidad precisa en el momento exacto y, además, un sistema de sobrealimentación que permita dosificar a la perfección la cantidad de aire que entra en los cilindros en cada momento.
De esta forma__ el motor de hidrógeno de Ford __consigue tener la mezcla perfecta de hidrógeno y aire para que arda por completo y sólo en el instante preciso.
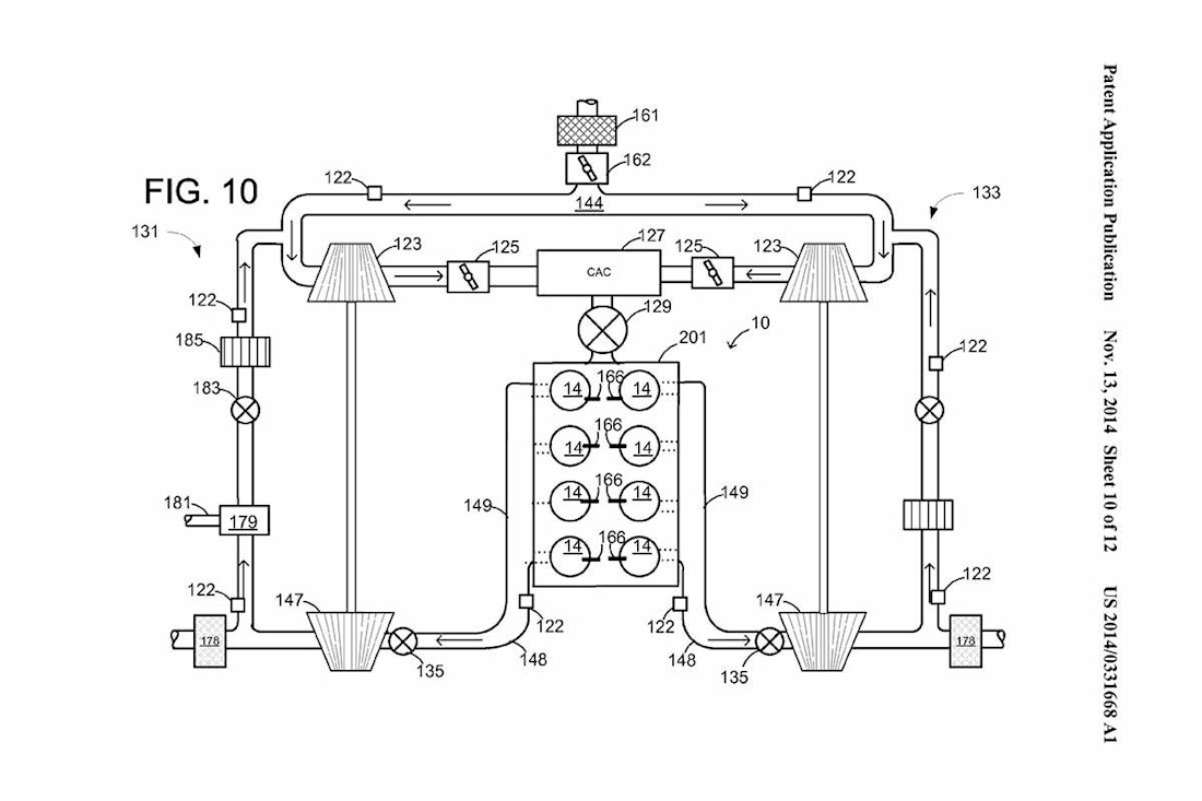
Por ahora todo es teoría y sobre un motor de un solo cilindro, pero es una tecnología escalable que podría aplicarse también en un motor de la configuración que se desee, quien sabe, tal vez el próximo Mustang no sea un eléctrico y sea un V8, eso sí, con energía completamente limpia.
Te puede interesar: Mustang Macha-e Vs Mustang GT V8
Lo que no se comenta en la documentación de la patente ni en el artículo publicado por Carscoops es cómo solucionan el problema que tienen en general los motores de combustión y es que, aunque el combustible sea limpio, por desgracia es inevitable que se contamine con los restos de aceite lubricante que quedan impregnando las paredes de los cilindros y que son imprescindibles para evitar que el motor gripe. Habría que hacer unos lubricantes que al quemarse tampoco produjesen gases ni residuos contaminantes.
Todos los artículos
Ver todo
El Renault Clio RS podría resucitar: la marca admite que estudia su regreso en formato híbrido

Este raro supercoche ha sido vendido por un precio récord en subasta



